A Future Version of Apple Vision Pro May Use Tunable Liquid Lenses
[Tech]
2023/08/21 09:09
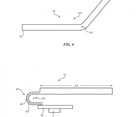
Two years ago Patently Apple posted a report titled "Apple Suppliers LG InnoTek and Corning Share Patents on a next-gen "Liquid Lens" that could replace the need for a Periscope Zoom Lens." The report noted that LG InnoTek and Corning were collaborating in the research of liquid lens. The pair decided in April 2021 to share 50/50 stakes in nine key US patents related to liquid lens. China's Xia...
America's Fast Food Landscape : McDonald's Still Reigns Supreme
[Business]
2023/08/21 09:08
We're diving deep into the world of fast food, which, more than 100 years on from the first opening of a White Castle, shows no signs of slowing down. Over 200,000 different fast-food businesses exist in the US, where Americans reportedly spend ~$200 billion every year — join us as we tuck into the whopper industry. This Sunday’s Chartr comes to you in partnership with Incogni, the personal d...
Global Smartphone Market to Hit Decade Low in 2023, But Apple Could Take Top Spot
[Business]
2023/08/21 09:07
Counterpoint Research said it expects smartphone shipments in 2023 to decline 6% year-on year to 1.15 billion devices, logging the worst performance in a decade.This year, Apple could take the top spot globally in terms of annual shipments for the first time ever, Counterpoint said.Apple is gearing up to launch its next flagship smartphone — the iPhone 15 — in September. That could give it a...
(Infographic) The Companies Employees Don’t Want to Leave in 2023
[Consumer]
2023/08/21 09:06
Following up on our 2022 study, Resume.io has analyzed LinkedIn data to identify the large companies where employees stay the longest and shortest in the U.S., UK, Canada and Australia. Plus, why working on your own sense of happiness at work may be a solid career move.The work you trained for and the job you’ve found may feel worlds away from the daily grind of writing sparkling up-to-the-min...
Egg-shaped Personal Flying Machine Unveiled by ZAPATA
[Product]
2023/08/21 09:05
Zapata's personal flying airscooter takes off and glides using VR joysticks on board.Franky Zapata’s personal flying machine, AirScooter, is equipped with two joysticks onboard that resemble the ones used for VR gaming and that control the VTOL, giving the pilot the sensation of being in a jetfighter video game. ZAPATA, the company that also introduced Flyboard Air and JetRacer, unveiled AirSc...
The Most Popular Sports & Activities in the U.S.
[Consumer]
2023/08/21 09:04
According to the U.S. Bureau of Labor Statistics, 96 percent of Americans spent time on sports and leisure activities in 2021. While this share is broadly the same along the gender divide, how men and women in the United States like to get physical in their spare time is drastically different. While many male participants in our Statista Consumer Insights like to play classic field sports, the...
Playbox Urban Mobility For Smart City of 2040
[Design]
2023/08/21 09:03
Sponsored by KG Mobility, Playbox Urban Mobility is a futuristic concept vehicle designed for smart city of 2040. It seems that the future is all about fun entertainment in the city or nature, especially for youngsters. In this scenario, the city of the future evolves just like an organism when time passes. Roads will be decreased and excluded as the city grows with nature.Well, designed for So...
(PDF) Accenture - Reinventing for Resilience : A CEO's Guide
[Business]
2023/08/18 09:10
Recent Accenture analysis found that less than a fifth of companies were able to sustain profitable growth before, during and after disruptive events.We analyzed data from 1,615 global companies across three performance dimensions to identify why those companies were more resilient.We found that those "long-term profitable growth" companies tended to demonstrate a uniquely balanced strength of...
(Video) Ikea Stunt Turns Canadians’ Homes Into Showrooms
[Business]
2023/08/18 09:09
Furniture retailer promotes new store with signs that turn people’s homes into living catalogues.To promote its new store opening in downtown Toronto at the end of May, Ikea Canada turned people’s real homes in the city into showrooms.The retailer fitted urban apartments and houses with Ikea furnishings and homeware and then placed signage around the windows with the slogan ‘Made for downtow...
TREND REPORTS















