The World Is Getting Warmer. Fashion Thinks It Can Handle the Heat.
[Business]
2025/07/11 09:03
For much of the last two weeks, large parts of Europe and the US steamed under heat domes that pushed temperatures to dangerous and unusual highs.At men’s fashion week in Paris, fans were among the hottest accessories. Rihanna reportedly carried a mini electronic one at ASAP Rocky’s second runway show for AWGE. Guests arriving at Hermès were handed cooling towelettes, and water was passed ro...
(PDF) WEF - Financing Strategies to Scale Investment in Food Systems Transformation
[Investing]
2025/07/10 09:10
Food systems contribute over 30% of global greenhouse gas emissions, yet receive less than 4% of climate finance. Unlocking the ~$1.1 trillion in annual investment needed for sustainable food transformation is both a critical imperative and a major opportunity for the financial sector.Playbook of Financing SolutionsInteractive online tool, referencing concrete financing strategies to scale inve...
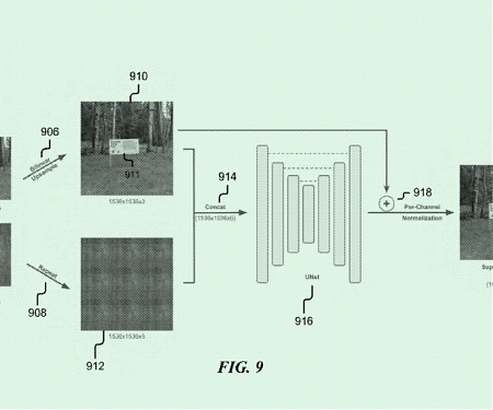
(Patent) Apple Has Won a Patent for Advanced Optical Systems That Could Also Be Used in Future AirPods for Interpreting Air Gestures+
[Tech]
2025/07/10 09:09
The U.S. Patent and Trademark Office officially granted Apple a patent that relates to optical systems. More particularly, Apple’s granted patent relates to optical systems having two or more light sources that are capable of illuminating a target, and a detector that is capable of detecting a returned portion of the light emitted by each light source. One example that Apple uses is an optical...
7 Gourmet Food Trends To Watch This Year
[Product]
2025/07/10 09:08
Think $400 pineapples, Indian-spiced potato chips and the sweet treat known as Dubai chocolate. Those were among the tens of thousands of items on display at the Fancy Food Show in New York City last week. The trade event is where buyers from food markets big (think Whole Foods) and small (think your corner grocer) come to see what they should be stocking on their shelves. On the flip side, it...
Google - MedGemma Multimodal AI Model with Open Weights Revolutionizes EHR
[Tech]
2025/07/10 09:07
Google has released the MedGemma multimodal AI model with open weights, designed to analyze longitudinal electronic health record (EHR) data, medical text, and various medical imaging modalities such as radiology, dermatology, pathology, and ophthalmology.MedGemma enables healthcare organizations and AI developers to leverage cutting-edge AI for extracting insights across structured and unstruc...
(Paper) Where Has Global Warming Accelerated Fastest ?
[Tech]
2025/07/10 09:06
A report released today by the World Meteorological Organization shows that temperature warming in Asia has increased fast over the past decades. In the years between 1991 and 2024, the continent has been warming at a rate of 0.45 Celcius per decade. This is more than double the rate the continent experienced between 1961 and 1990 and almost double the current global average.Looking at the 1991...
YC-Backed ZeroEntropy Secures $4.2M to Reinvent AI Search Layers
[Investing]
2025/07/10 09:05
As generative AI reshapes industries, one of its most important yet invisible challenges is retrieval, the process of fetching the right data with relevant context from messy knowledge bases. Large language models (LLMs) are only as accurate as the information they can retrieve.That’s where ZeroEntropy wants to make its mark. The San Francisco-based startup, co-founded by CEO Ghita Houir Alami...
Microsoft Racks Up Over $500 Million in AI Savings While Slashing Jobs
[Consumer]
2025/07/10 09:04
Microsoft (MSFT.O) saved more than $500 million in its call centers alone last year by using artificial intelligence, Bloomberg News reported on Wednesday.The tech giant last week announced plans to lay off nearly 4% of its workforce as it looks to rein in costs amid hefty investments in AI infrastructure. In May, the company had announced layoffs affecting around 6,000 workers.AI tools were he...
A Simple Shape Turned The Coca-Cola Logo Into A Timeless Icon
[Design]
2025/07/10 09:03
It all ties back to one design tweak from 1969. Today, Coca-Cola has one of the most iconic brand identities in the world—so iconic, in fact, that one 2010s study found that “Coca‑Cola” is the second‑most widely understood term in the world after the word “okay.” But the brand’s modern global footprint might look entirely different if it weren’t for one major design overhaul in 1969 ca...
TREND REPORTS















