The Rise of ByteDance’s CapCut Threatens Adobe and Canva
[Business]
2024/08/20 09:06
CapCut could be banned in US by same law threatening TikTok. Adobe working on Premiere editing app that runs in browser.CapCut, a video-editing app owned by Chinese tech powerhouse ByteDance Ltd., is rapidly gaining steam, threatening to lure users away from Adobe Inc. and Canva Inc.The app is a streamlined tool for making videos — especially with effects popular on TikTok, the social platform...
What Are the Most Popular Phone Brands in the U.S. ?
[Consumer]
2024/08/20 09:05
In 2023, 40 percent of the 1.2 billion smartphones shipped worldwide were produced by either Apple or Samsung, according to IDC data, with the former carving out a lead of 8 million devices over the latter. This marks the first time the U.S. company overtook the South Korean electronics manufacturer in the mobile phone segment. Despite increasingly steep price tags for its newest phones, Apple'...
New Ray-Ban Meta glasses have Outsold Previous Version, Essilux CEO Says
[Product]
2024/08/20 09:04
Meta Platforms and EssilorLuxottica's new generation of smart glasses have sold more in a few months than the old ones did in two years, EssilorLuxottica's Chief Executive said on Tuesday.The Ray-Ban Meta smart glasses went on the market last October, allowing users to livestream directly from the glasses to followers on Facebook and Instagram. The smart glasses have Meta AI built in, with the...
Nubit Autonomous Mobility Service for Wheelchair Users
[Design]
2024/08/20 09:03
Nubit is a universal autonomous mobility service designed to make wheelchair users realize their possibility to enjoy travel experiences. The smart system gathers information about its passenger, from their disability to their wheelchair characteristics so that the system can provide various exterior and interior options. It also allows Nubit to provide user with personalized services for ultim...
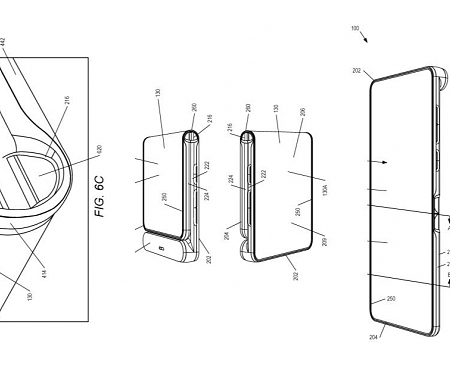
(Patent) Apple Invents Virtual Stores for Vision Pro
[Tech]
2024/08/19 09:10
The U.S. Patent and Trademark Office officially published four new Virtual Store patent applications covering different aspects of this huge project. When you look at the patent figures, they look cartoon-like and very elementary when in reality, we know how Vision Pro can knock our socks off with floating webpages, IMAX-like movies and so forth. So you have to let your imagination expand when...
(PDF) BCG - Playing to Win in the Industrial Software as a Service Revolution
[Business]
2024/08/19 09:09
To succeed in the future, manufacturers must learn to deliver industrial solutions as digital services. This playbook describes the first steps involved in executing this complex strategy.Industrials must use digital technologies to deliver hardware-based services—such as predictive maintenance and machine optimization service—in real time.55% of North American manufacturers plan to use indus...
Goodfire Raises $7M for Its ‘Brain Surgery’-like AI Observability Platform
[Investing]
2024/08/19 09:08
Goodfire, a startup developing tools to increase observability of the inner workings of generative AI models, announced today that it has raised $7 million in seed funding.led by Lightspeed Venture Partners, with participation from Menlo Ventures, South Park Commons, Work-Bench, Juniper Ventures, Mythos Ventures, Bluebirds Capital, and several notable angel investors.Addressing the ‘black box...
(Paper) MIT Researchers Use LLM to Flag Problems in Complex Systems
[Tech]
2024/08/19 09:07
The approach can detect anomalies in data recorded over time, without the need for any training.Identifying one faulty turbine in a wind farm, which can involve looking at hundreds of signals and millions of data points, is akin to finding a needle in a haystack.Engineers often streamline this complex problem using deep-learning models that can detect anomalies in measurements taken repeatedly...
Then & Now : Olympic Superpowers
[Business]
2024/08/19 09:06
After two and a half weeks of competitions and more than 1,000 medals given out to athletes from across the globe, it came down to the final event of the Paris 2024 Olympics to determine who would top the official medal table. In the end, the U.S. women’s basketball team’s 67-66 win over host nation France in the gold medal game was enough for Team USA to claim the top spot once again, tying...
TREND REPORTS














