Daily Report : Pantone 선정, 2026년 올해의 컬러 - '클라우드 댄서 (Cloud Dancer)'
[Daily Report]
2025/12/08 09:11
1. Pantone 선정, 2026년 올해의 컬러 - '클라우드 댄서 (Cloud Dancer)' 휴식과 재설정을 상징하는 백색: 급변하는 세상 속에서 명료함과 쉼을 의미하는 '클라우드 댄서'를 선정하여, 낡은 틀을 벗어던지고 새로운 시작을 준비하는 캔버스 같은 순간을 표현유연하고 균형 잡힌 중립성: 웜톤과 쿨톤의 균형이 완벽한 진정한 중립적 백색으로 패션과 인테리어 등 다양한 분야에서 활용 가능한 높은 범용성과 심리적 안정감을 제...
Pantone’s 2026 Color of the Year - Cloud Dancer
[Design]
2025/12/08 09:10
Pantone Names Cloud Dancer Its Color Of The Year 2026.Pantone introduces Cloud Dancer as the Color of the Year 2026, selecting a billowy, pared-back white that reflects a collective push toward clarity, rest, and reset. Amid the rush of a hyper-accelerated world, the hue stands in for a blank canvas, a moment of suspension where old frameworks fall away and new ideas can surface.“We are curren...
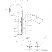
(Patent) Disney’s Anti-AI Robot : Disney Wants Its Robots To Mime Your Movements
[Tech]
2025/12/08 09:09
The company filed a patent for a “robotics device” that takes control signals “based on movement data.” Disney’s tech essentially allows a robot to be commanded by the movements of others. “Existing systems may be unable to be quickly and efficiently controlled to perform a target motion, such as a movement based on a reference animation, motion capture data, or sensor data,” Disney said...
Luxury Stocks Set For Revival In 2026 After Rollercoaster Year
[Investing]
2025/12/08 09:08
Luxury Stocks Look Ready for a Stronger Year After Their ‘Detox’. Optimism is building that a second-half rally in Europe’s luxury-goods sector can extend into the new year as signs point to better times for the continent’s flagship equity sector.Upbeat third-quarter earnings, a recovering Chinese market and a wave of newly installed creative directors have all spurred confidence that the p...
The Estée Lauder Companies and Jo Malone London Unveil 'AI Scent Advisor'
[Product]
2025/12/08 09:07
Estée Lauder’s Jo Malone is launching an “AI Scent Advisor” to convince people to buy perfumes without smelling them.Gen Z is driving a perfume and fragrance boom.Gen Z is driving something of a fragrance boom at the moment, and Estée Lauder is looking to continue cashing in by debuting an “AI Scent Advisor,” developed with Google Cloud, that it hopes will convince online shoppers to spe...
AI’s Next Challenge : Take the CEO’s Job
[Consumer]
2025/12/08 09:06
Why big-tech bosses say artificial intelligence is coming for them, too.The message out of Big Tech these days is that even the CEO’s job is at risk with the rise of artificial intelligence.We’re accustomed to all of the talk about superintelligent AI vacuuming up office jobs and robots replacing workers on factory floors. But now the corner office appears to be in trouble, too.“What a CEO d...
(Video) 3D-Printed Cornea Restores Sight in a Legally Blind Patient for the First Time
[Tech]
2025/12/08 09:05
In a major breakthrough in human tissue replication, for the first time ever a 3D-printed cornea has been transplanted onto a legally blind patient's eye, successfully restoring their sight.That's from Rambam Eye Institute in Haifa, Israel, which worked with a company called Precise Bio that specializes in regenerative tech and bio-fabricated tissues. This procedure, completed towards the end o...
(Infographic) The World’s Most Profitable Companies In 2025
[Investing]
2025/12/08 09:04
Alphabet, Apple, and Microsoft lead global profitability, each earning over $100B in net income. U.S. companies dominate the list, but major Asian and European giants also rank among the top earners.The ranking of the world’s most profitable companies in 2025 highlights a powerful concentration of earnings across technology, finance, and energy.The data for this visualization comes from Financ...
Yeezy’s Former Designer Just Dropped His First Crocs Design
[Design]
2025/12/08 09:03
You know that feeling when two things you never expected to see together suddenly collide in the most delightful way? That’s exactly what’s happening right now in the world of footwear, and honestly, it’s about time someone shook things up at Crocs.Let me introduce you to the Crocs Ripple, the brainchild of Steven Smith, a name that carries serious weight in the sneaker world. If you’re not...
TREND REPORTS














