In 2024, Biosensors Are Becoming More Accessible: What It Means for You
[Tech]
2024/01/24 09:06
New biowearables are giving people with Type 2 diabetes more options. Those without diabetes can get even more insight into their health.[The Stelo by Dexcom is a continuous glucose monitor for people with diabetes who don't need insulin, including the millions with Type 2. Slowly, the biowearables market is opening up glucose tracking to more people.]Deep in your body, under your skin, are mea...
All the Major Tech Layoffs in 2024 So Far
[Consumer]
2024/01/24 09:05
Layoffs tend to pick up in January as companies look to restructure, reorganize, and re-prioritize based on their forecast for the new year.For the tech industry that has seen quite a bit of upheaval in the last two years, 2024 seems to be a continuation of a mix of earlier factors at play.We visualize some of the bigger layoffs in the year so far, from video game software provider Unity to big...
Pharrell Williams LV Hits Stores : What does China Think ?
[Business]
2024/01/24 09:04
Pharrell Williams' Louis Vuitton Spring 2024 menswear collection has finally hit stores with multisensory retail concepts. Will his superstar fanbase translate into blockbuster sales?On Thursday, January 4, Pharrell Williams' debut Louis Vuitton collection arrived in stores worldwide, hitting over 50 locations.From the Plaza Indonesia store, to West Hollywood, Seoul, London, Paris, and New York...
This Utilitarian Electric Scooter is Economical Way To Move Cargo In Urban Locales
[Design]
2024/01/24 09:03
As businesses are shifting focus from more polluting and space-consuming cargo vans and cars to cargo-hauling bikes for the last-mile approach, there is a huge demand for better options.Tapping on the opportunity, a Vancouver-based startup is designing what it calls the Scootility – precisely a portmanteau of scooter and utility. A reasonable and compact alternative for last-mile delivery; the...
(PDF) Mckinsey - The Trends Defining The $1.8 Trillion Global Wellness Market in 2024
[Business]
2024/01/23 09:10
Our latest Future of Wellness survey finds that consumers are taking greater control over their health—and expect companies to provide effective, science-backed solutions.From cold plunges to collagen to celery juice, the $1.8 trillion global consumer wellness market is no stranger to fads, which can sometimes surface with limited clinical research or credibility. Today, consumers are no longe...
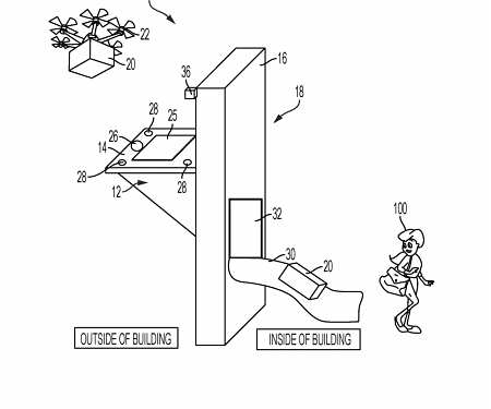
(Patent) Amazon Charges Up - Amazon is Making Sure Its Warehouse Robots have Enough Juice
[Tech]
2024/01/23 09:09
The e-commerce giant filed a patent application for mission assignment based on “battery charge state” for autonomous mobile robots. Amazon’s system aims to optimize use of self-piloted robots in logistics and warehouse spaces by taking into account a number of different factors, both looking at environmental data and the robot’s internal data. Because tasks given to autonomous machines can...
(Paper) MIT Engineers Develop a Vibrating, Ingestible Capsule That Might Help Treat Obesity
[Tech]
2024/01/23 09:08
Swallowing the device before a meal could create a sense of fullness, tricking the brain into thinking it’s time to stop eating. The pill could offer a minimally invasive, cost-effective way to treat obesity.When you eat a large meal, your stomach sends signals to your brain that create a feeling of fullness, which helps you realize it’s time to stop eating. A stomach full of liquid can also...
(Video) Snapchat’s New AR Art Activation With Fine Arts Museums of San Francisco
[Business]
2024/01/23 09:07
Snapchat’s once again looking to highlight the potential of integrating AR and classic art, via a new partnership with the Fine Arts Museums of San Francisco (FAMSF), which will see an augmented reality try-on element included within its latest exhibition of 20th- and 21st-century women’s clothing in the United States.“Have you ever wished you could try on the fashions you see in museum exhi...
(PDF) Global Consumer Trends : The New Experience Economy
[Consumer]
2024/01/23 09:06
Nearly everyone’s lives have been changed by the pandemic, and for almost half of the global population, the change was profound. The pandemic also led to widespread digital adoption as people were empowered to work, shop, and connect with others from the comfort of their own homes. Are these new values and digital behaviors here to stay?Advances in technology could further augment how we expe...
TREND REPORTS














